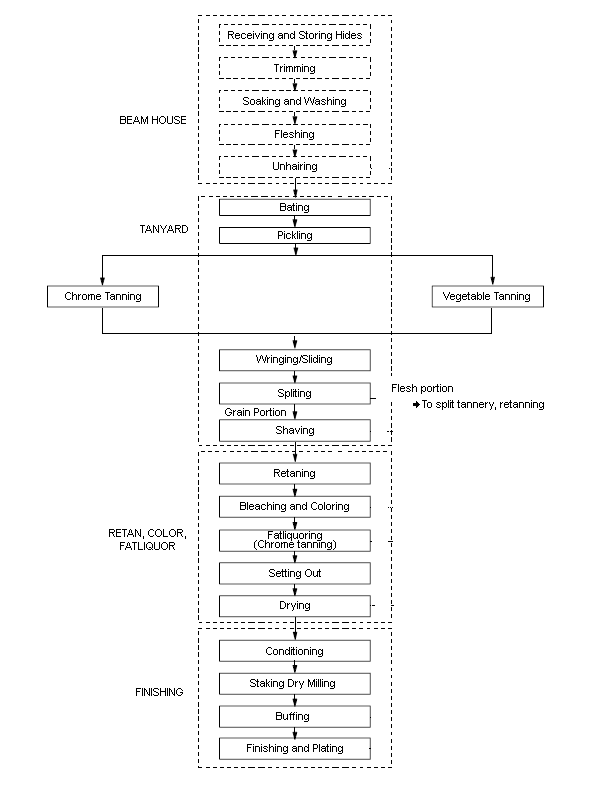
FLESHING
The fleshing operation is completed by machines in which the fresh and limed hides pass between several rollers where the meat and fat residues are removed.
WASHING
In the washing phase, hides are cleaned for 2-3 hours with 25-30°C water containing wetting agents and bactericides.
LIMING
The purpose of the liming phase is to dissolve the epidermis, separating the hair from the skin and extracting the natural fat, as well as the non-structural proteins.
DELIMING
During the deliming phase, all lime from the hide is eliminated
BATING
In the bating phase, enzymes are added to "digest" the residues of hair roots and non-structural proteins, leaving the corium fibrous structure free for better tanning.
TANNING
The tanning agent (basic chrome sulfate) is added to the leather in a determined way to homogeneously affix it to the fibers. At the end of this phase, a Wet Blue hide is ready to be splitted and shaved.
SPLITTING
The Wet Blue hide is separated into grain (Top Layer) and Split (Bottom layer) by a machine.
SHAVING
In the shaving phase, excess thickness on the flesh side of the leather is cut off.
RETANNING
Shaved and trimmed leathers are loaded into drums and subsequently-and sometimes simultaneously-put through the processes of re-tanning, dyeing and fatliquoring. These processes will define the characteristics of the products: re-tanning will settle the "roundness" and touch of the product, dyeing will determine the color, and fatliquoring will set the softness.
DRYING
After retanning, there are different ways in which the leather can be dried: vacuum drying, air-drying and hot air circulation drying.
SOFTENING
Finally, a softening phase occurs in which machines cause a relative sliding of leather fibers through a combination of folds, bumps and stretches. After softening, the leather is in the crust stage.
FINISHING
During the finishing process, chemicals are applied to the crust to modify colors, shines, textures, effects, resistance to harmful factors (water, heat, light, etc.) and to correct hide defects.
Finished leather is divided into two groups: Full grain and Corrected grain leathers, depending on whether the original hide grain remains in it natural state or not.
A diagrammatic representation of the tanning process is as below
